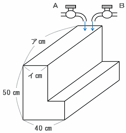
次の図のように大きい直方体から小さい直方体を切り取った形の水そうがあります。A管、B管ともに1分間に16リットルの割合で水が入ります。
※ 画像はすべて、クリックすると拡大します。

はじめA管だけをあけ、次にB管もあけ、途中でA管をしめたところ、水を入れ始めてからの時間と水の深さの関係がグラフのようになりました。

このとき、図のア、イとグラフのウ、エにあてはまる数を求めなさい(式や考え方も書きなさい)。
※ 続きを見る場合は、下の「解説はこちらから」をクリック!
【アの求め方】
グラフから、最初の2分間で容器の水の深さは10㎝になることが分かります。
最初の2分間はA管から水が毎分16リットル=16000㎤の割合で入るので、2分間に入った水の量は16000×2=32000㎤になります。
そのとき、容器の中で水が入った部分だけを切り取って図に表すと、次のようなたてア㎝、横40㎝、高さ10㎝の直方体になります。
※ 画像はすべて、クリックすると拡大します。

上の図の体積はア×40×10=32000㎤という式に表すことができるので、アにあてはまる数は32000÷(40×10)=80になります。
【イの求め方】
グラフから、水の深さが42-20=22㎝増えるのにかかった時間は、4分27秒-3分12秒=1分15秒=1.25分であることが分かります。
その時間帯はA管とB管の両方を使って水を入れているので、その1.25分で容器に入った水の量は16000×2×1.25=40000㎤になります。
さっきと同じように、その1.25分間で水が入った40000㎤の部分だけを図に表してみると、次のようなたて80㎝、横イ㎝、高さ20㎝の直方体ができます。

上の図の体積は80×イ×20=40000㎤という式に表すことができるので、イにあてはまる数は40000÷(80×20)=25になります。
【ウとエの求め方】
4分27秒からウ分エ秒まではB管だけを使って水を入れ、容器の水の深さは50-42=8㎝増えています。
その8㎝分だけを切り取って図に表すと次のような直方体になるので、その容積は25×80×8=16000㎤になります。

16000㎤はB管から1分間で入る水の量と等しいので、容器の水の深さが50㎝になった時間は4分27秒+1分=5分27秒になります。
したがって、ウには5が、エには27があてはまります。
【補足 グラフの読み取り方】
問題文に「はじめA管だけをあけ、次にB管もあけ、途中でA管をしめた」とあること、そして容器の幅が途中からせまくなっていることから考えて、次のグラフの①から④の流れには2つのパターンが考えられます。

【パターン その1】
① A管だけを使って水を入れる
② B管も使い始めたので水の増え方がアップ
③ 容器の幅がせまくなったので水の増え方がさらにアップ
④ B管だけにしたので増え方ダウン
【パターン その2】
① A管だけを使って水を入れる
② 容器の幅がせまくなったので水の増え方がアップ
③ B管も使い始めたので水の増え方がさらにアップ
④ B管だけにしたので増え方ダウン
つまり、②のときに「A管だけ」あるいは「A管とB管の両方」を使っているのかによって2通りの流れが考えられるのですが、この問題のアを求めるときには①の条件を、そしてイを求めるときには③の条件を使っているので、特に困ることはありません。
また、グラフの①から③のときの1分あたりの水深の増え方を確認してみると、
① 2分で10㎝増えた→1分で10÷2=5㎝増える
② 1.2分で12㎝増えた→1分で12÷1.2=10㎝増える
③ 1.25分で20㎝増えた→1分で20÷1.25=16㎝増える
のようになっています。
このとき、①と②では水深の増え方が10÷5=2倍になっていることから、パターン2が正解なら容器の幅は40㎝からその半分である20㎝に変わったはずです。
※ 水の量は同じだけど、容器の幅が半分になったから水深の増え方が2倍になった。
しかし実際には、③の条件を使えば容器の幅は20㎝ではなく25㎝になったことが分かるので、パターン2は正しくないことが分かります。
PR