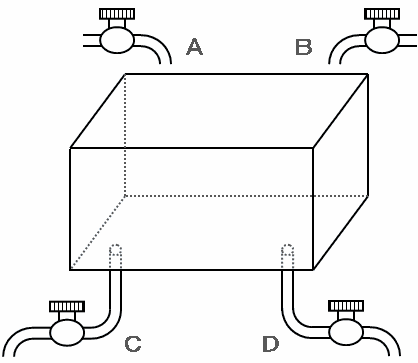
図のように、4つの管A、B、C、Dのついた水そうがあります。この4つの管は開くと1分間あたりそれぞれ一定の量の水を流すことができ、管AとBは開くと水そうに水をいれることができ、管CとDは開くと水そうから水を抜くことができます。
※ 画像はクリックすると拡大します。

最初は4つの管がすべて閉じている状態であったとします。この状態から次のようなことがわかっているとき、あとの問いに答えなさい。
① 管AとBとCを開くと、10分で空の水そうは満水になる。
② 管AとBとDを開くと、15分で空の水そうは満水になる。
③ 管AとCとDを開くと、20分で満水の水そうは空になる。
④ 管BとCとDを開くと、60分で満水の水そうは空になる。
(1) 管AとBとCとDを開くと、何分で空の水そうは満水になりますか。
(2) 管Dのみを開くと、何分で満水の水そうは空になりますか。
※ 続きを見る場合は、下の「解説はこちらから」をクリック!
(1)
まずは水そうの満水の量を1とおいて、問題文の①から④の内容を次のように分かりやすく書きかえていきます。
ただし、管AとBは水を増やす役割、そして管CとDは水を減らす役割をしていることを区別しながら考えていくことが大切です。
① 管AとBとCを開くと、10分で空の水そうは満水になる。
AB10分とC10分で水そうの水の量は1増えるので、AB1分とC1分を使うと、水そうの水の量は1÷10=10分の1増えます。
② 管AとBとDを開くと、15分で空の水そうは満水になる。
AB15分とD15分で水そうの水の量は1増えるので、AB1分とD1分を使うと、水そうの水の量は1÷15=15分の1増えます。
③ 管AとCとDを開くと、20分で満水の水そうは空になる。
A20分とCD20分で水そうの水の量は1減るので、A1分とCD1分を使うと、水そうの水の量は1÷20=20分の1減ります。
④ 管BとCとDを開くと、60分で満水の水そうは空になる。
B60分とCD60分で水そうの水の量は1減るので、B1分とCD1分を使うと、水そうの水の量は1÷60=60分の1減ります。
このとき、①から④の書きかえた内容をすべて次の図のように合体させると、A~Dがそれぞれ3回ずつ登場しているので、AB3分とCD3分を使うと水の量が10分の1増えることが分かります。
※ 画像はすべて、クリックすると拡大します。

以上から、この4つの管で満水にするのにかかる時間は、3×10=30分になります。
(2)
さっきの問題で、ABCDを30分使うと水そうが満水になることが分かったので、ABCDを1分使ったときは水そうの水の量が1÷30=30分の1増えることになります。
そこで、今度は「AB1分+CD1分=30分の1増える」と「AB1分+C1分=10分の1増える」という2つの条件を次の図のように消去算っぽく扱うと、D1分で水そうの水は15分の1減ることが分かります。

管Dは1分で水そうの水を15分の1減らすので、空にするまでにかかる時間は1÷15分の1=15分になります。
PR